常见检测标准
ASTM D4169(医疗医药)
GB/T 14710(医械环境)
GB/T 4857(基本试验)
ISTA 3E(集合包装)
ISTA 6A(电商专用)
ISTA 3A(单包裹件)
ISTA 2A(卖方标准件)
其它检测标准
常见测试项目
加速老化试验
振动/震动测试
跌落/摔箱测试
环境可靠性试验
斜面/角冲击实验
高海波低气压试验
抗压(堆码)测试
夹持(夹抱)测试
包装材料 包材检测
其他(项目)测试
行业应用
电商-行业
医械及医药
国防装备专用
家具及家居用品
汽车配件/新能源
家电及电子消费品
其它行业应用
座机:400-181-0026
电话:0512-88830151
手机:18018198853
邮件:fggyjc07@yeah.net
网站:http://www.fts-lab.com
地址:苏州市吴中经济开发区南官渡路9号5#-3
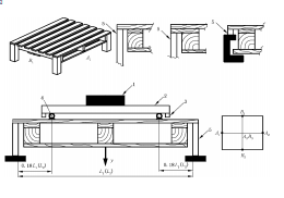
在物流过程中,托盘的使用很频繁,很多客户会要求其供应商对托盘检测,常用标准为GB/T 4996(ISO 8611-1)、GB/T 4995(ISO 8611-2)等。
托盘检测一般包括抗弯试验、叉举试验、垫块或纵梁抗压试验、堆码试验、底铺板抗弯试验、翼托盘抗弯试验、气囊抗弯试验、静态剪切试验、角跌落试验、剪切冲击试验、顶铺板边缘冲击试验、垫块冲击试验、静摩擦系数试验、滑动角试验。从不同角度考量托盘的结构强度、刚度、稳定性、耐冲击性等。
GB/T 4995(ISO 8611-2)中对不同用途的托盘所需进行的试验项目做了推荐:
额定载荷试验
搬运方式
用于货架存取和堆码
仅用于堆码而不用于货架存取
既不用于货架存取也不用于堆码
特殊情况
输送机
吊取
货架存取
1a和1b
\
叉举
2a和2b
压挤
3a和3b
堆码
4a和4b
底铺板支撑
5a和5b
吊取翼板
6a和6b
苏州富港工业检测技术有限公司是专业的包装运输测试实验室,专注于GB/T 4996,ISO 8611-1,GB/T 4995,ISO 8611-2,托盘检测,托盘测试,托盘试验,富港检测努力为用户挑选到恰到好处的包装,为用户积极的应对国外电商包装要求以及产品注册包装验证需要提供积极的支持!如果您需要包装运输测试服务,请您联系我们:18136076160。
本文上部配图说明:
1、富港检测站内图片为富港包装实验室实地拍摄(本图有版权,请勿盗图)!
2、一组包装测试程序由多个试验项目组成,因空间有限,本文上部配图仅列举其中一个测试设备或一个场景图片作为代表供您了解使用,请见谅,如需更多信息,请与我司包装测试顾问联系!感谢您的来访与支持!
转载请注明出处:富港检测www.fts-lab.com(跌落试验)
GB/T 14710-20
YY/T 0291-201
SJ/T 11326环境可
GB/T4996气囊抗弯试
GB/T 4996抗弯试验
GB/T 4996托盘角跌
GB/T 4996剪切冲击