常见检测标准
ASTM D4169(医疗医药)
GB/T 14710(医械环境)
GB/T 4857(基本试验)
ISTA 3E(集合包装)
ISTA 6A(电商专用)
ISTA 3A(单包裹件)
ISTA 2A(卖方标准件)
其它检测标准
常见测试项目
加速老化试验
振动/震动测试
跌落/摔箱测试
环境可靠性试验
斜面/角冲击实验
高海波低气压试验
抗压(堆码)测试
夹持(夹抱)测试
包装材料 包材检测
其他(项目)测试
行业应用
电商-行业
医械及医药
国防装备专用
家具及家居用品
汽车配件/新能源
家电及电子消费品
其它行业应用
座机:400-181-0026
电话:0512-88830151
手机:18018198853
邮件:fggyjc07@yeah.net
网站:http://www.fts-lab.com
地址:苏州市吴中经济开发区南官渡路9号5#-3
GB/T 4996 翼托盘抗弯试验要点
一 适用范围与目的
翼托盘抗弯试验是评估托盘在承受弯曲载荷时的抗弯强度和抗弯刚度的重要测试。这种测试对于确保托盘在实际使用中能够有效支撑货物、抵抗弯曲变形以及保持结构稳定性至关重要。本试验的目的是确定用翼托盘由吊索吊起作业时翼托盘的抗弯强度和抗弯刚度。通过这些测试,可以评估翼托盘在实际使用中的性能表现,确保其在物流运输过程中的安全性和可靠性。
概括:
适用对象:带翼板的翼托盘(四向进叉托盘的一种),用于评估其在吊索起吊作业工况下的结构承载与变形能力。
试验项目:包含6a 抗弯强度与6b 抗弯刚度两项,分别评价极限承载与在规定载荷下的变形控制能力。
标准配套:试验方法与判定阈值需与GB/T 4995-2014《平托盘 性能要求与试验选择》配套使用(试验载荷水平、性能极限等来自GB/T 4995)。
二 试验程序
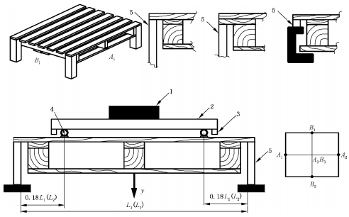
1、试验设置
试样状态:托盘顶铺板朝上,置于4个50 mm×50 mm支柱上;支柱位于翼板下方,且与托盘端头齐平。
净空要求:调整支柱高度,使底铺板下侧面与地面/台面间距≥50 mm,避免支座干涉与局部约束。
跨距与加载位置:加载杠中心线至支柱内侧的距离为0.18L1或0.18L2(L1、L2为托盘长度与宽度);加载板置于加载杠上,随后施加其余试验载荷。
方向性:按托盘长度与宽度方向分别进行试验,以覆盖不同受力路径。
2、试验步骤与测量
2.1)6a 抗弯强度
通过加载板逐步施加载荷,直至托盘任一构件出现破裂或发生过度挠曲/变形;
记录该工况下的极限载荷值(单位:N 或 kN),作为翼托盘的抗弯强度。
2.2)6b 抗弯刚度
以6a测得的极限载荷的**(1.5±0.5)%作为基准载荷;
按GB/T 4995-2014表1确定满载;
在各测点(A1、A2、A3或B1、B2、B3)测量挠度 y,并在以下四个时刻记录最大值:
a 加到基准载荷时;b 加到满载时;c 满载结束时;d 卸载结束时;
刚度合格性按GB/T 4995-2014表1的性能极限判定。
三 结果判定
判定依据:
强度:试验中不得出现构件破裂或过度变形;以极限载荷表征能力;
刚度:在规定载荷与四个测量时刻的挠度应满足GB/T 4995-2014对应限值。
重要性:翼托盘抗弯试验不仅有助于确保托盘在实际使用中能有效支撑货物、抵抗弯曲变形,还能保障货物运输的安全稳定。同时,该试验为托盘的设计优化提供依据,提升产品质量,降低使用风险,提高物流效率和经济效益。
备注:GB/T4996翼托盘抗弯试验通过科学的方法评估托盘的抗弯强度和抗弯刚度,为托盘的设计优化和质量控制提供了重要依据。该试验依照国家标准进行,确保托盘在各种使用条件下的性能表现。不仅有助于提高托盘的可靠性和安全性,还能推动托盘制造行业的技术进步和质量提升,从而为现代物流系统提供更加稳定和高效的托盘产品。
本文上部配图说明:18018198853.
1、富港检测站内图片为富港包装实验室实地拍摄(本图有版权,请勿盗图)!
2、一组包装测试程序由多个试验项目组成,因空间有限,本文上部配图仅列举其中一个测试设备或一个场景图片作为代表供您了解使用,请见谅,如需更多信息,请与我司包装测试顾问联系!感谢您的来访与支持!
转载请注明出处:富港检测www.fts-lab.com(托盘检测标准)
GB/T 11287
GB/T 36911-20
ISO 8318:2000
JIS Z 0232:20
滚动试验
ISTA 6-AMAZON
GB/T 14710-20